![]() |
![]() |
![]() |
![]() |
![]() |
![]() |
|||||||||||
Vespa Douglas Owner's Manuals |
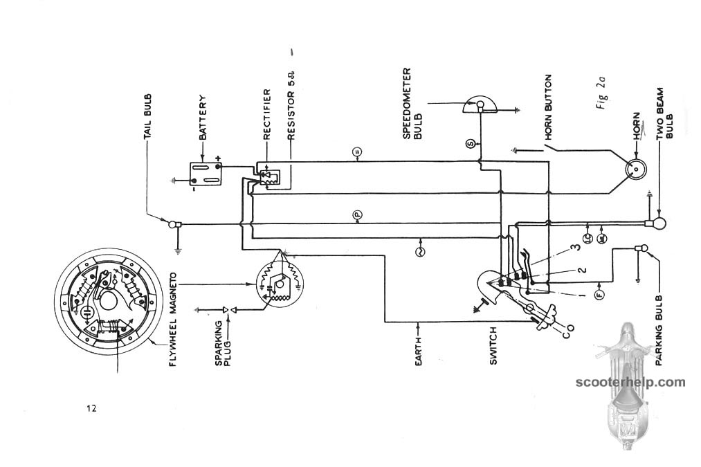
Douglas Model GThis manual was sold with Vespas made under license in the UK by Douglas. The Model G was their second model in a line that spanned over 10 years. Thanks to Kelvin in Australia for the original scans. Click individual pages for images or here for a high resolution 3.4MB PDF file. |
|||||||||||||||