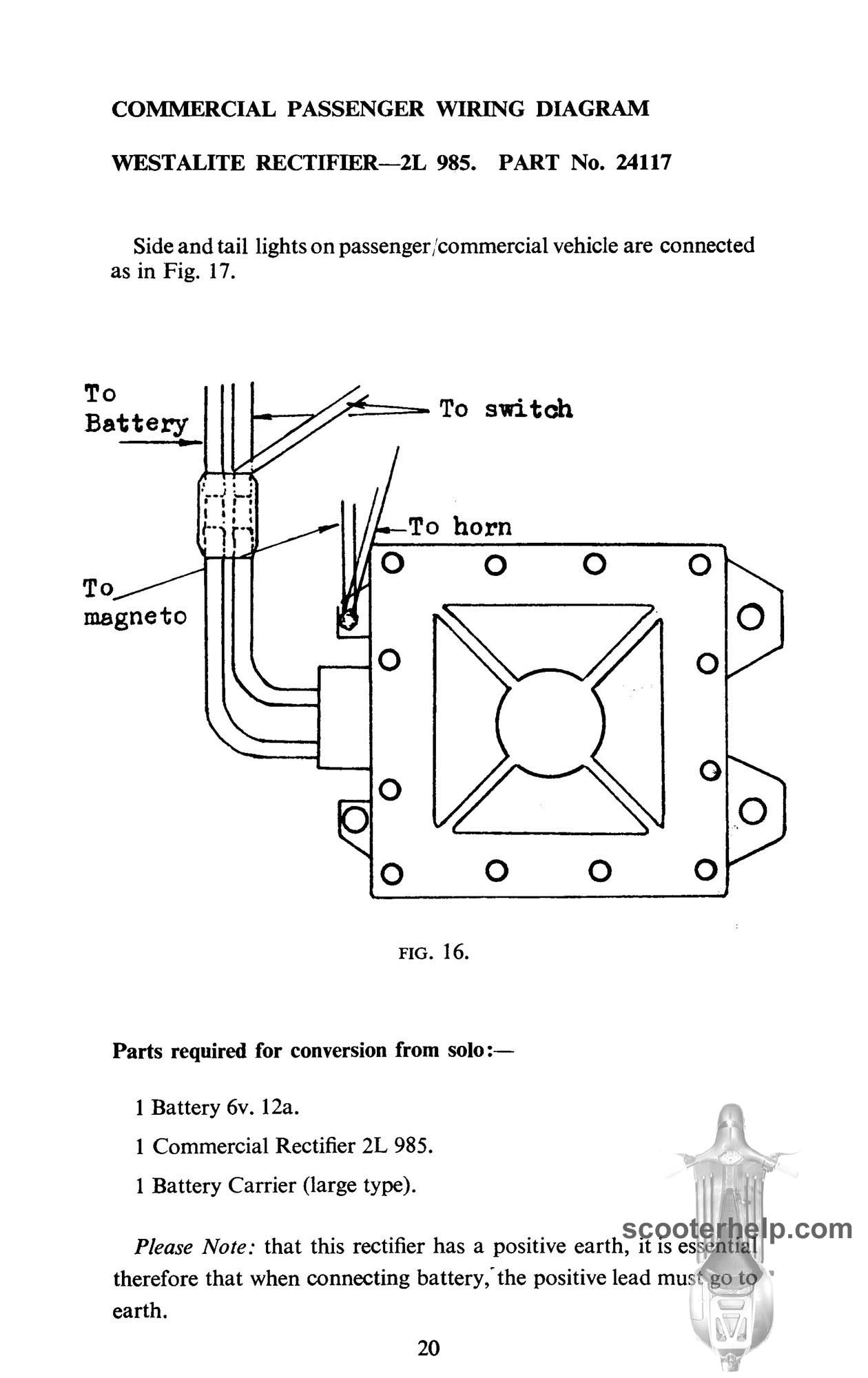
![]() |
![]() |
![]() |
![]() |
![]() |
![]() |
||||||||||||
Vespa Douglas Service Manuals |
Douglas Model GL2 Service ManualThis manual was provided to scooter shops for Vespas made under license in the UK by Douglas and covers all aspects of repair and service. Thanks to the reader who sent me the disk of scans. ..or click here for a 22MB PDF file |
||||||||||||||||